The SEDRIS DRM may be downloaded as part of the SEDRIS SDK Release from
the SEDRIS SDK Downloads page. 
  
- Description
 
- Provides data representation model (DRM) background material, describes
what is a DRM, and discusses the SEDRIS data representation model notation
and modeling technique.
 
 
- DRM 4.1.4
Class Dictionary
 
- Allows on-line viewing, and discusses the content and format of the
Class Dictionary.
 
- .
 
- Model Notation
 
- Provides a synopsis of the unified modeling language (UML) notation
on which the SEDRIS data representation model is based, and discusses some
minor extensions to the UML employed by SEDRIS.
 
- < RETRIEVE
or DOWNLOAD >
 
 
- DRM Constraints
 
- The SEDRIS constraints express semantic restrictions regarding the
practical use of specific elements of the DRM and the application program
interface (API). These are issues associated with the notion that: This
is how this part of the DRM is organized, but here is the most effective
way of using that particular element. The current version of the DRM
constraints may be retrieved for on-line viewing or may be downloaded for
local use.
 
- < RETRIEVE
or DOWNLOAD >
 
 
  
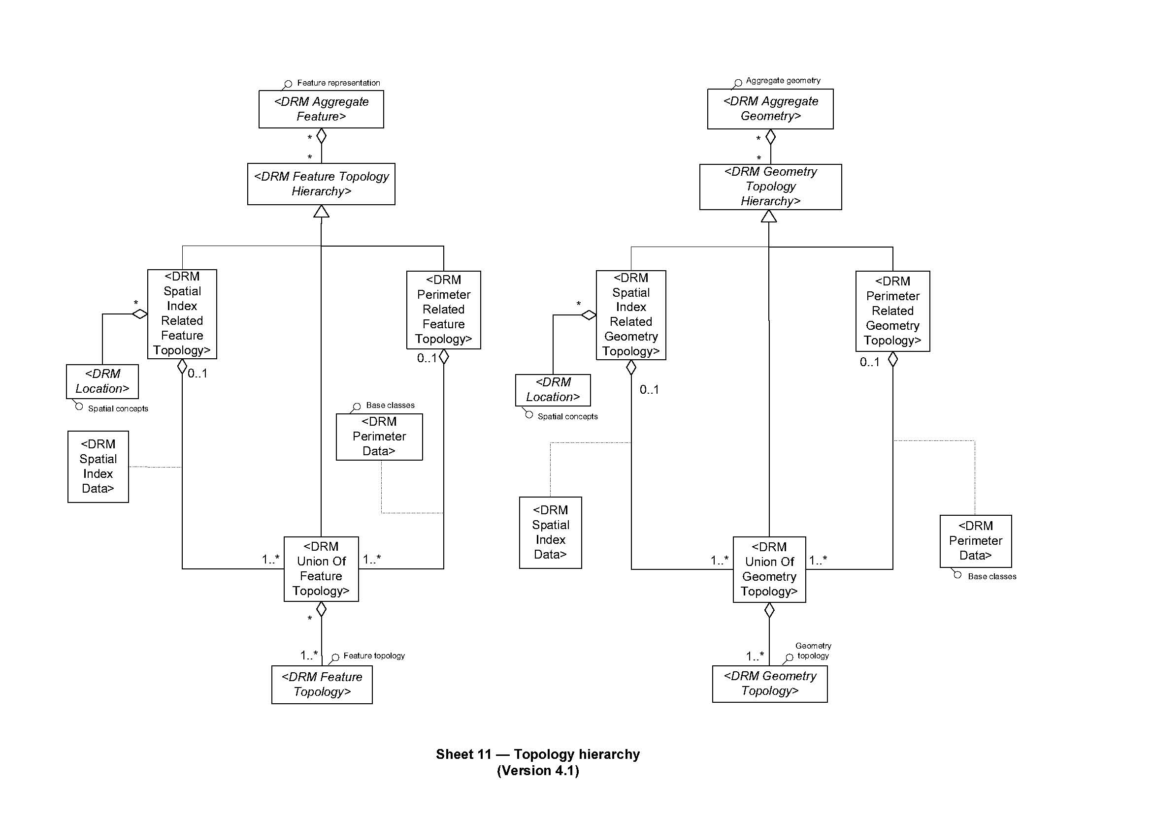
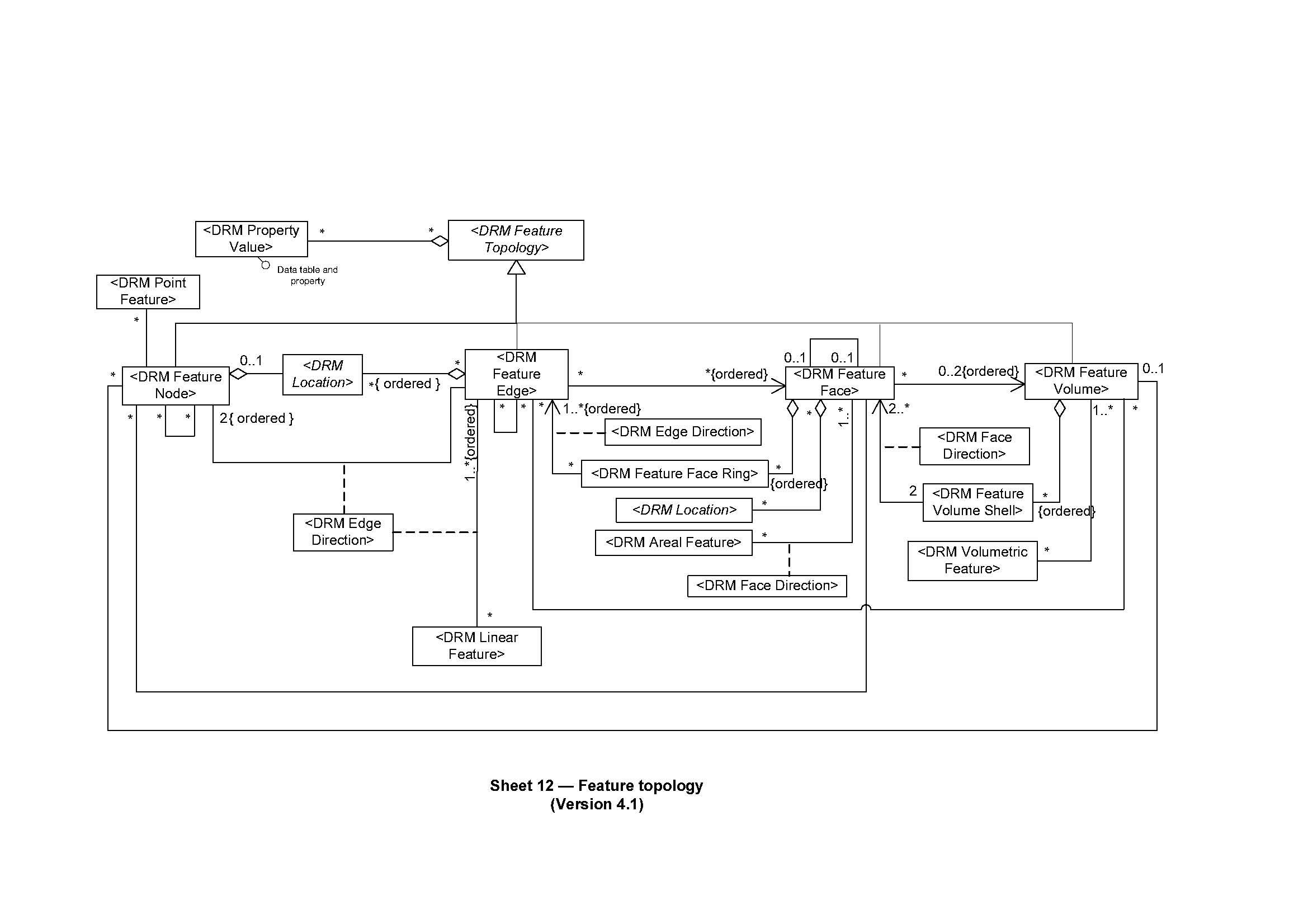
- The SEDRIS DRM descriptions are illustrated by a hierarchy of 23 separate
panels or sheets. 
 
- The DRM panels are available in the Unified Modeling Language (UML)
format.
 
- < RETRIEVE
or DOWNLOAD > the entire set, or view individual panels
below.
 
 
. 
 
Return to: Top of this
Page 
 |